 
                        
                    RX型墊片
RX型RTJ環墊圈制造符合API 6A和ASME B16.20標準,適合API 6 B和ASME / ANSI B16.5法蘭。
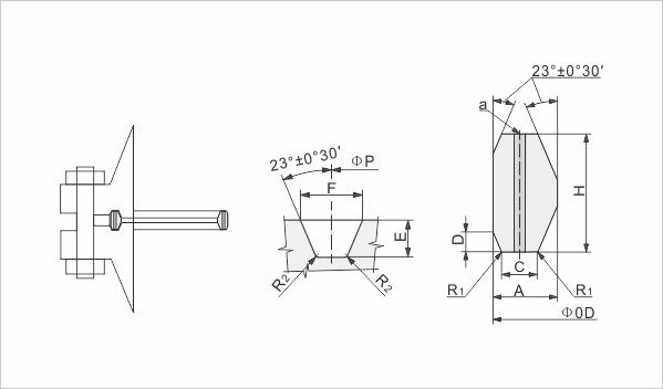
RX型是一個壓力能量適應的標準R型墊圈。RX型的設計以適應同一個標準的R槽設計,使得接合互換。修改后的設計使用壓力能量影響,提高了系統內部壓力,增加密封的效率。
壓力:2000 - 5000 PSI

公差:(mm)
A *(環的寬度)
+ 0.20,-0.000
h(環的高度)
+ 0.20,-0.000
外徑(外徑)
+ 0.5,-0.000
23 *(角)
1/2°
*寬度公差為0.008英寸。
“A”和高度“H”是允許的,只要寬度或高度的變化在整個圓周上不超過0.004英寸。
注 1:
壓力通道孔說明在環式接頭截面保證均衡的壓力可能會被困在槽,它是在環rx82通過rx91只。孔的中心線應位于“C”(寬平)的中點。孔直徑應為A。
<td width="71" style="border-color: rg
| 環號   | PRESSLURE ALASSES, API 6B | 中心徑  P | 外直徑  0D | 環寬   A | 環高   H | 重量 Ibs. | |||
| 720-960and 2000[Note(1)] | 2900[Note(1)] | 3000 | 5000 | ||||||
| Rx20 | 1 1/2 | - | 1 1/2 | 1 1/2 | 68.26 | 76.20 | 8.73 | 19.05 | 0.527 | 
| Rx23 | 2 | - | - | - | 82.55 | 93.27 | 11.91 | 25.40 | 1.15 | 
| Rx24 | - | - | 2 | 2 | 95.25 | 105.97 | 11.91 | 25.40 | 1.33 | 
| Rx25 | - | - | - | 3 1/8 | 101.60 | 109.54 | 8.73 | 19.05 | 1.42 | 
| Rx26 | 2 1/2 | - | - | - | 101.60 | 111.92 | 11.91 | 25.40 | 1.50 | 
| Rx27 | - | - | 2 1/2 | 2 1/2 | 107.95 | 118.27 | 11.91 | 25.40 | 1.73 | 
| Rx31 | 3 | - | 3 | - | 123.83 | 134.54 | 11.91 | 25.40 | 1.91 | 
| Rx35 | - | - | - | 3 | 136.53 | 147.24 | 11.91 | 25.40 | 2.09 | 
| Rx37 | 4 | - | 4 | - | 149.23 | 159.94 | 11.91 | 25.40 | 2.27 | 
| Rx39 | - | - | - | 4 | 161.93 | 172.64 | 11.91 | 25.40 | 2.54 | 
| Rx41 | 5 | - | 5 | - | 180.98 | 191.69 | 11.91 | 25.40 | 2.72 | 
| Rx44 | - | - | - | 5 | 193.68 | 204.39 | 11.91 | 25.40 | 2.96 | 
| Rx45 | 6 | - | 6 | - | 211.14 | 281.85 | 11.91 | 25.40 | 3.66 | 
| Rx46 | - | - | - | 6 | 211.14 | 222.25 | 13.49 | 28.58 | 8.56 | 
| Rx47 | - | - | - | 8(2) | 228.60 | 245.27 | 19.84 | 41.28 | 3.79 | 
| Rx49 | 8 | - | 8 | - | 269.88 | 280.59 | 11.91 | 25.40 | 5.36 | 
| Rx50 | - | - | - | 8 | 269.88 | 283.37 | 16.67 | 31.75 | 4.56 | 
| Rx53 | 10 | - | 10 | - | 323.85 | 334.57 | 11.91 | 25.40 | 6.45 | 
| Rx54 | - | - | - | 10 | 323.85 | 337.34 | 16.67 | 31.75 | 5.36 | 
| Rx57 | 12 | - | 12 | - | 381.00 | 391.72 | 11.91 | 25.40 | 26.40 | 
| Rx63 | - | - | - | 14 | 419.10 | 441.72 | 26.99 | 50.80 | 6.63 | 
| Rx65 | 16 | - | - | - | 469.90 | 480.62 | 11.91 | 25.40 | 9.39 | 
| Rx66 | - | - | 16 | - | 469.90 | 483.39 | 16.67 | 31.75 | 7.52 | 
| Rx69 | 18 | - | - | - | 533.40 | 544.12 | 11.91 | 25.40 | 20.14 | 
| Rx70 | - | - | 18 | - | 533.40 | 550.07 | 19.84 | 41.28 | 11.63 | 
| Rx73 | 20 | - | - | - | 584.20 | 596.11 | 13.49 | 31.75 | 22.10 | 
| Rx74 | - | - | 20 | - | 584.20 | 600.87 | 19.84 | 41.28 | 0.790 | 
| Rx82 | - | 1 | - | - | 57.15 | 67.87 | 11.91 | 25.40 | 0.880 | 
| Rx84 | - | 1 1/2 | - | - | 63.50 | 74.22 | 11.91 | 25.40 | 0.880 | 
| R | |||||||||